Patikima 6 kamerų PVC durų sistema su 2 sandarinimo tarpinėmis. Tvirtas dizainas, optimali šilumos ir garso izoliacija, pritaikyta tiek gyvenamiesiems, tiek komerciniams pastatams – funkcionalus ir estetiškas pasirinkimas už prieinamą kainą.

Framex 71 – 6/3 kamerų plastikinės durys
Kas yra Framex 71 durys?
Framex 71 – tai patikima PVC durų sistema su 6 kamerų stakta ir 3 kamerų varčia, 2 sandarinimo tarpinių sistema ir 71 mm montavimo gyliu. Šis sprendimas sukurtas taip, kad užtikrintų gerą šilumos ir garso izoliaciją, konstrukcinį stabilumą bei ilgalaikį patikimumą įvairios paskirties pastatuose.
Ši sistema puikiai tinka tiek gyvenamiesiems namams, tiek biurų ar komercinėms patalpoms, kurioms reikalingas funkcionalus, estetiškas ir ekonomiškai racionalus durų sprendimas.
Kodėl verta rinktis Framex 71 duris?
- Subalansuota sistema su optimaliu kamerų skaičiumi – pakankama izoliacija ir tvirtumas kasdieniam naudojimui.
- Glotnus, blizgus paviršius ir švelni balta spalva tinka tiek moderniems, tiek klasikiniams fasadams.
- Sistema skirta tiek išoriniam, tiek vidiniam durų atidarymui – tai leidžia plačiai ją pritaikyti skirtinguose projektuose.
- Galimybė rinktis tarp kelių skirtingų varčių aukščių – aukšta ir vidutinė varčia įvairiems poreikiams.
- Didelė spalvų ir laminavimo galimybių įvairovė – profiliai lengvai derinami prie fasado ar interjero sprendimų.
- Papildomos galimybės – šiltas slenkstis, apsauga nuo pažeidimų slenksčio zonoje, RC2 klasės apsaugos lygis.
Framex 71 durų privalumai
- 6/3 kamerų sistema – užtikrina reikiamą šilumos ir garso izoliaciją su konstrukciniu stabilumu.
- 71 mm montavimo gylis – kompaktiška, bet funkcionali sistema vidutinio dydžio projektams.
- 2 sandarinimo tarpinės (TPE) – efektyvi apsauga nuo drėgmės, skersvėjų ir dulkių.
- Stiklo paketai iki 42 mm – galimybė naudoti tiek standartinius, tiek energiją taupančius paketus.
- Konstrukcijų dydžiai iki 3000 × 3000 mm – sistema pritaikoma net nestandartinėms durų angoms.
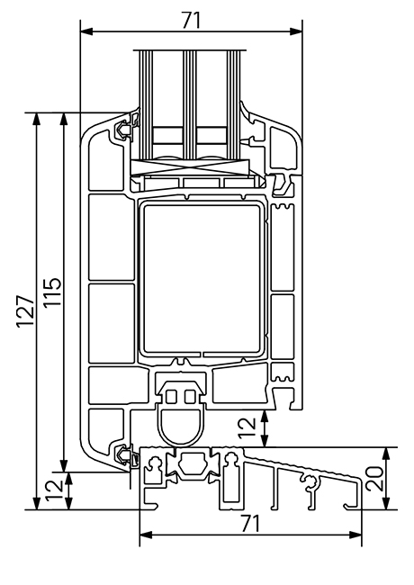
Framex 71 PVC durys – techninės charakteristikos

Savybė | Parametras |
|---|---|
Montavimo gylis | 71 mm |
Matoma profilio dalis (rėmas + varčia) | 153 mm |
Kamerų skaičius staktoje | 6 |
Kamerų skaičius varčioje | 3 |
Šilumos perdavimo koeficientas (Uf) | 1,2 W/m²K |
Furnitūra | ROTO, ašis 13 mm |
Apsauga nuo įsilaužimo | Iki RC2 |
Stiklo paketo storis | 24 mm, 42 mm |
Distancinis rėmelis | Vientisas lenktas |
Paketo užpildymas | Argono dujos |
Stiklajuostės | Apvalios |
Sandarinimo sistema | 2 tarpinės, TPE |
Šilumos varžos koeficientas (Rf) | 0,83 m²°C/W |
Max varčios dydis | 1200 × 2400 mm |
Max konstrukcijos dydis | 3000 × 3000 mm |
Min konstrukcijos dydis | 400 × 400 mm |
Pagrindinės kameros plotis | 41,5 mm |
Paviršius | Blizgus |
Framex 71 PVC durys – vaizdas iš lauko ir vidaus


Dekoravimo technologijos – išskirtinis Framex 71 dizainas

Antracitas masėje – modernus vientisas dizainas
„Antracitas masėje“ – tai pažangi Framex gamybos technologija, kai visa PVC profilio masė yra pigmentuota pilkai, o ne tik padengta spalvotu sluoksniu. Skirtingai nei tradicinė laminacija, čia plastikas savo spalvą išlaiko visame tūryje – tiek paviršiuje, tiek pjūvio vietose, kampuose ar varčios vidinėje pusėje. Dėl to profiliai atrodo estetiškai ne tik iš išorės, bet ir atvėrus langą ar duris.
Spalva išlieka vienoda visose vietose, todėl nėra baltų kraštų, laminacijos sluoksnių ar atšokimų. Ši technologija leidžia sukurti natūraliai vientisą ir solidžią išvaizdą, kuri ypač vertinama šiuolaikiniuose projektuose, kur dizaino vientisumas yra svarbi architektūrinė dalis. Kadangi nereikia papildomo laminavimo, sumažėja eksploatacinių pažeidimų rizika – profiliai netrūkinėja, neatsilupa ir nereikalauja papildomos priežiūros.
„Antracitas masėje“ technologija taip pat užtikrina atsparumą UV spinduliams, temperatūrų svyravimams, krituliams bei kitiems atmosferos poveikiams. Net ir po daugelio metų eksploatacijos langai išlieka vizualiai tvarkingi, o jų spalva neblunka ir nepraranda sodrumo.
Šis sprendimas puikiai tinka moderniems pastatams su minimalistiniu, industriniu ar lofto stiliaus fasadu. Profiliai „antracitas masėje“ puikiai dera su metalu, betonu, medžiu ar tamsiomis fasado medžiagomis. Tokie langai ir durys ne tik atrodo elegantiškai, bet ir išlaiko tą patį estetinį lygį viso naudojimo laikotarpiu.
Dėl šių savybių Framex 71 profiliai su „antracitas masėje“ technologija yra ne tik išvaizdūs, bet ir patikimi – tai sprendimas tiems, kurie vertina ilgaamžiškumą, vientisą dizainą ir aukštą kokybę be papildomos priežiūros.


PVC laminavimas – daugiau spalvų jūsų durims
Ieškantiems durų, kurios idealiai derėtų prie fasado ar interjero apdailos, Framex 71 durų sistema suteikia plačias laminacijos galimybes. Profiliai gali būti laminuojami iš vienos arba abiejų pusių, leidžiant derinti skirtingas spalvas durų išorėje ir viduje. Tai ne tik estetinė, bet ir praktiška galimybė – laminuoti profiliai išlieka atsparūs aplinkos poveikiui, UV spinduliams ir išlaiko vientisą spalvą daugelį metų.
Populiariausios sandėliuojamos spalvos
Nuolat turimos spalvos leidžia greičiau įgyvendinti tiek standartinius, tiek individualius projektus:
- Antracitas pilkas (58L-2) – universalus šiuolaikinis atspalvis, derantis su modernia architektūra.
- Auksinis ąžuolas (89L-2) – natūralus, šiltas medžio tonas, tinkantis klasikiniams ir rustic stiliaus sprendimams.
- Riešutas natūralus (25L-2) – sodrus, tamsesnis atspalvis, suteikiantis durims solidumo.
Platus spalvų pasirinkimas pagal užsakymą
Framex gamykloje įrengtos net 5 laminavimo linijos, todėl pagal užsakymą profiliai gali būti laminuojami vos per 7 darbo dienas, išlaikant aukštą kokybę ir tikslų spalvinį suderinimą.
Galimos papildomos spalvos:
Antracitas smėlio (59S-2), bazaltas pilkas (46L-2), spindinti bronza (103I-2), matinė juoda (110S-2M), šaltai juoda (110L-2), šokoladinė ruda (69L-2), tamsus ąžuolas (23L-2), mahagonas (27L-2) ir kiti variantai.
Framex 71 durys su laminuotais profiliais suteikia ne tik vizualinį pranašumą, bet ir išsaugo atsparumą, estetiką bei konstrukcijos vientisumą daugelį metų. Daugiau spalvų – tai daugiau galimybių kurti duris, pritaikytas konkrečiam projektui ir architektūriniam sprendimui.



